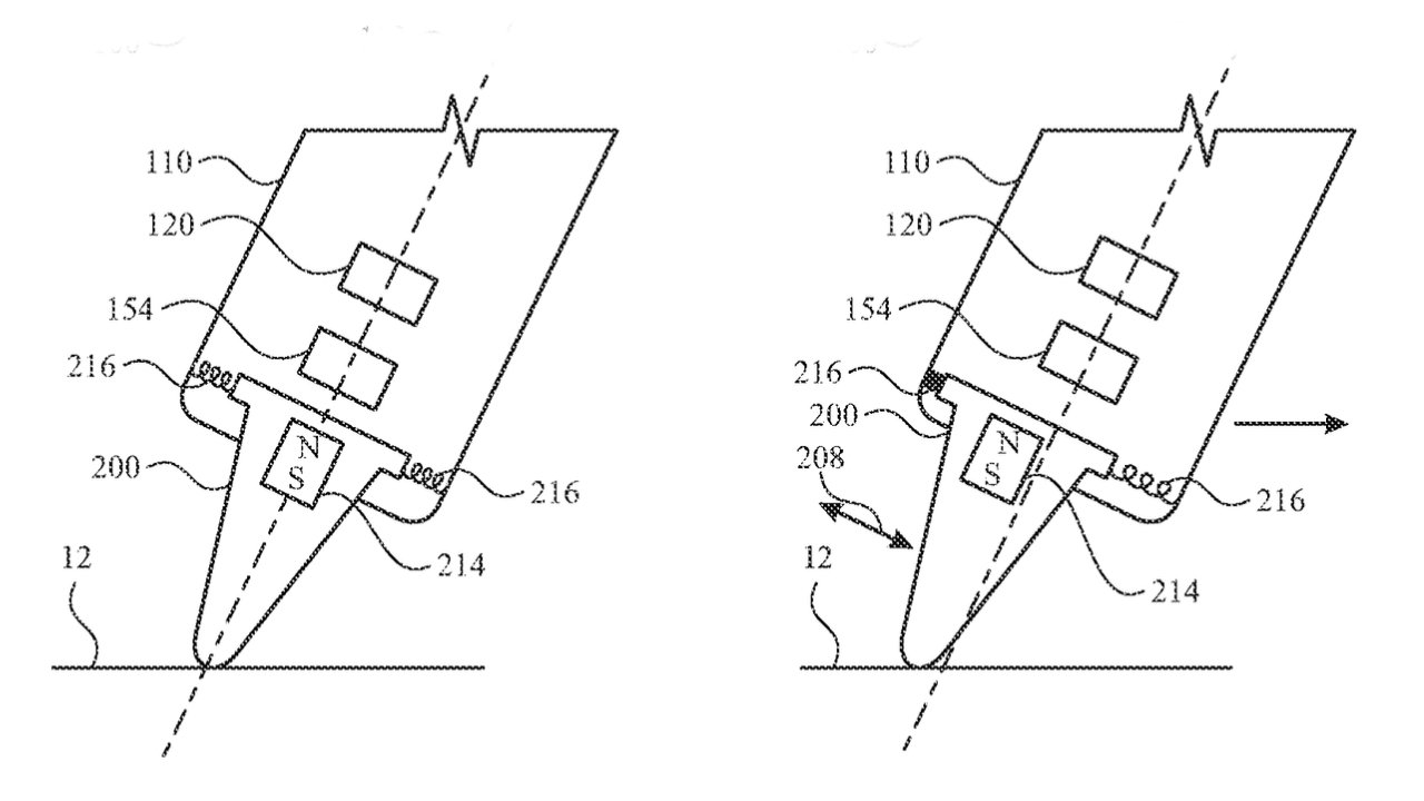
Apple has been researching how to adjust the Apple Pencil’s tip angle, haptic feedback, weight distribution and even stiffness of the Apple Pencil to contextually turn it into the right tool for painting or calligraphy.

Detail from the patent showing an Apple Pencil stylus tip and how it might adjust — image credit: Apple

Detail from the patent showing an Apple Pencil stylus tip and how it might adjust — image credit: Apple
It’s been over a decade since the Apple Pencil was announced to criticism that it was just an expensive stylus with an over-engineered name — and also praise that it was great. Since then, though, Apple has maybe spent more time developing this stylus than it has the Mac Pro.
So many patents have been filed before, such as having the Apple Pencil detect colors and textures. Or it might gain a see-through Touch Bar, or even be usable as a TV antenna, for some reason.